Bahay > Mga produkto > Bolt > Hexagon Head Bolt > Heavy Duty Hexagonal Bolt
        Heavy Duty Hexagonal Bolt
        • Heavy Duty Hexagonal BoltHeavy Duty Hexagonal Bolt
        • Heavy Duty Hexagonal BoltHeavy Duty Hexagonal Bolt

        Heavy Duty Hexagonal Bolt

        Ang Heavy Duty Hexagonal bolts ay mga high-strength fasteners na gawa sa alloy steel o stainless steel, na nagtataglay ng tensile strength at toughness. Angkop ang mga ito para sa mabibigat na mga senaryo ng koneksyon gaya ng konstruksiyon at makinarya. Ang mga heavy-duty na hex bolts na ginawa sa ating bansa ay sumusunod sa mga internasyonal na pamantayan gaya ng mga detalye ng ISO at ASTM.

        Magpadala ng Inquiry

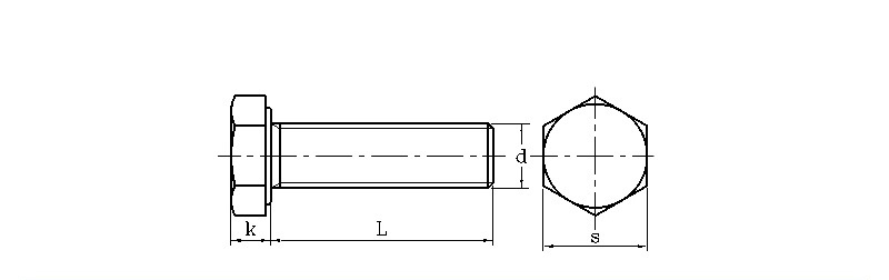
        Paglalarawan ng Produkto

        Sertipiko ng Inspeksyon ng Kalidad

        Ang Heavy Duty Hexagonal bolt ay kadalasang may kasamang mga de-kalidad na sertipikasyon batay sa mga internasyonal na pamantayan—ang mga ito ay nagsisilbing makapangyarihang patunay na natutugunan ng mga ito ang mga kinakailangan. Ang mga dokumentong tulad ng ISO 4014 (para sa general-purpose bolts na may coarse pitch threads) o ISO 8765 (para sa bolts na may fine pitch threads) ay nagpapatunay na ang Hexagonal bolt ay tumutugma sa mahigpit na dimensional, mechanical, at material specs.

        Para sa mga kritikal na paggamit ng aerospace, maaaring ma-certify ang isang Hexagonal bolt sa mga pamantayan tulad ng ISO 6397, na sumasaklaw sa mga test bolts para sa mga application ng torque at tension. Ginagarantiyahan ng mga sertipikasyong ito na ang Hexagonal bolt ay ginawa sa mga tumpak na grado (A at B) at mga klase ng ari-arian. Tinitiyak nito ang pagganap, pagpapalit, at pagiging maaasahan nito sa anumang ginagamit nito—mula sa pangkalahatang makinarya hanggang sa mga dalubhasang industriya.

        Mga gastos sa pagpapadala ng produkto

        Ang gastos sa pagpapadala para sa Heavy Duty Hexagonal bolt ay hindi isang nakapirming presyo—depende ito sa kabuuang halaga ng paghahatid. Kabilang dito ang pag-iimpake, transportasyon, at pag-load. Nalalapat din ang mga dagdag na bayad tulad ng mga dagdag na bayad sa gasolina. Ang panghuling singil sa kargamento ay karaniwang nakabatay sa kabuuang timbang ng iyong order at ang distansya ng paghahatid. Mahalagang isaalang-alang ang mga bayarin sa pangangasiwa na ito at mga posibleng surcharge upang malaman nang tumpak ang buong gastos sa transportasyon para sa iyong Hexagonal bolt na kargamento.

        Q&A Session

        Nag-aalok ka ba ng custom na packaging at pag-label para sa Heavy Duty Hexagonal bolts, at ano ang iyong mga tuntunin sa pagbabayad?

        Oo, nagbibigay kami ng ganap na nako-customize na packaging para sa aming mga bolts. Kasama sa mga opsyon ang maliliit na kahon, master carton, o pang-industriya na mga sako—lahat ay maaaring magkaroon ng iyong partikular na branding, barcode, at impormasyon ng produkto. Ang aming karaniwang pag-aayos ay 30% na binayaran ng TT, at ang natitirang 70% ay binabayaran bago ipadala ang mga kalakal. Para sa mga pinagkakatiwalaang partner, masaya rin kaming talakayin ang iba pang secure na opsyon sa pagbabayad tulad ng sight LC.


                                                                                                                                                                                   mm
        d S k d Thread
        max min max min max min
        M3 5.32 5.5 1.87 2.12 2.87 2.98 0.5
        M4 6.78 7 2.67 2.92 3.83 3.98 0.7
        M5 7.78 8 3.35 3.65 4.82 4.97 0.8
        M6 9.78 10 3.85 4.14 5.79 5.97 1
        M8 12.73 13 5.15 5.45 7.76 7.97 1.25
        M10 15.73 16 6.22 6.58 9.73 9.96 1.5
        M12 17.73 18 7.32 7.68 11.7 11.96 1.75
        M14 20.67 21 8.62 8.98 13.68 13.96 2
        M16 23.67 24 9.82 10.18 15.68 15.96 2
        M18 26.67 27 11.28 11.7 17.62 17.95 2.5
        M20 29.67 30 12.28 12.71 19.62 19.95 2.5



        Mga Hot Tags: Heavy Duty Hexagonal Bolt
        Kaugnay na Kategorya
        Magpadala ng Inquiry
        Mangyaring huwag mag-atubiling ibigay ang iyong pagtatanong sa form sa ibaba. Sasagot kami sa iyo sa loob ng 24 na oras.
        X
        Gumagamit kami ng cookies para mag-alok sa iyo ng mas magandang karanasan sa pagba-browse, pag-aralan ang trapiko sa site at i-personalize ang content. Sa paggamit ng site na ito, sumasang-ayon ka sa aming paggamit ng cookies. Patakaran sa Privacy
        Tanggihan Tanggapin